290608外球面轴承、290609外球面轴承、290610外球面轴承、290611外球面轴承
 |
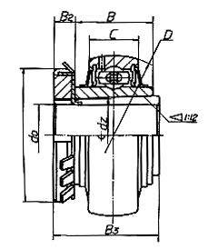
说明: 1、紧定套基本尺寸符合部标《JB/T7919·2》。
2、质量栏包括紧定套质量。
3、适用于较大振动和冲击负荷的机械和两根轴的连接部位。
4、较UC300和UEL300同一内径尺寸轴承的转速和承载能力要高。 |
| |
| 轴承代号 |
外形尺寸 (mm) |
重量(Kg) |
额定 动负荷Cr(KN) |
额定 静负荷Cor(KN) |
极限转速(r/min) |
| 新代号 |
旧代号 |
d0 |
dZ |
D |
D1 |
B3 |
B |
B2 |
C |
| UK305+H2305 |
290604 |
20 |
25 |
62 |
38 |
35 |
27 |
8 |
21 |
0.36 |
17.22 |
11.39 |
2800 |
| UK306+H2306 |
290605 |
25 |
30 |
72 |
45 |
38 |
30 |
8 |
23 |
0.59 |
20.77 |
14.17 |
2600 |
| UK307+H2307 |
290606 |
30 |
35 |
80 |
52 |
43 |
34 |
9 |
25 |
0.75 |
25.66 |
17.92 |
2200 |
| UK308+H2308 |
290607 |
35 |
40 |
90 |
58 |
46 |
36 |
10 |
27 |
1.02 |
31.35 |
22.38 |
2000 |
| UK309+H2309 |
290608 |
40 |
45 |
100 |
65 |
50 |
39 |
11 |
30 |
1.38 |
40.66 |
30.00 |
1800 |
| UK310+H2310 |
290609 |
45 |
50 |
110 |
70 |
55 |
42 |
12 |
32 |
1.68 |
47.58 |
35.71 |
1700 |
| UK311+H2311 |
290610 |
50 |
55 |
120 |
75 |
59 |
44 |
12 |
34 |
2.06 |
55.05 |
41.91 |
1400 |
| UK312+H2312 |
290611 |
55 |
60 |
130 |
80 |
62 |
48 |
13 |
36 |
2.53 |
62.88 |
48.60 |
1300 |
| UK313+H2313 |
290612 |
60 |
65 |
140 |
85 |
65 |
49 |
14 |
38 |
3.08 |
72.21 |
56.68 |
1200 |
| UK315+H2315 |
290613 |
65 |
75 |
160 |
98 |
73 |
56 |
15 |
42 |
4.84 |
87.25 |
71.67 |
1000 |
| UK316+H2316 |
290614 |
70 |
80 |
170 |
105 |
78 |
58 |
17 |
44 |
5.75 |
94.57 |
80.35 |
1000 |
| UK317+H2317 |
290615 |
75 |
85 |
180 |
110 |
82 |
61 |
18 |
46 |
6.72 |
102.05 |
89.52 |
950 |
| UK318+H2318 |
290616 |
80 |
90 |
190 |
120 |
86 |
66 |
18 |
48 |
7.87 |
110.81 |
100.76 |
900 |
| UK319+H2319 |
290617 |
85 |
95 |
200 |
125 |
90 |
67 |
19 |
50 |
9.02 |
120.51 |
113.75 |
850 |
| UK320+H2320 |
290618 |
90 |
100 |
215 |
130 |
97 |
74 |
20 |
54 |
11.1 |
133.06 |
131.18 |
800 |
| UK322+H2322 |
290620 |
100 |
110 |
240 |
145 |
105 |
82 |
21 |
60 |
14.9 |
157.66 |
167.64 |
700 |
| UK324+H2324 |
290622 |
110 |
120 |
260 |
155 |
112 |
86 |
22 |
64 |
18.0 |
175.07 |
194.42 |
630 |
| UK326+H2326 |
290623 |
115 |
130 |
280 |
165 |
121 |
90 |
23 |
68 |
23.3 |
194.93 |
226.71 |
560 |
| UK328+H2328 |
290625 |
125 |
140 |
300 |
180 |
131 |
95 |
24 |
73 |
28.9 |
211.38 |
253.93 |
500 |
|