UK209外球面轴承、UK210外球面轴承、UK211外球面轴承、UK212外球面轴承
 |
说明:
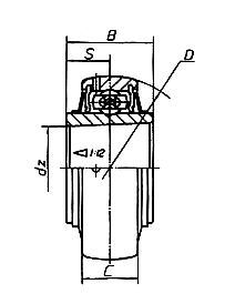
此型轴承一般与紧定套配合使用,适用于有振动、冲击负荷的机械。 |
| |
| 轴承代号 |
外形尺寸 (mm) |
重量(Kg) |
额定 动负荷Cr(KN) |
额定 静负荷Cor(KN) |
极限转速 (r/min) |
| 新代号 |
旧代号 |
dz |
D |
B |
S |
C |
| UK205 |
190505 |
25 |
52 |
26 |
13 |
17 |
0.16 |
10.78 |
6.98 |
3400 |
| UK206 |
190506 |
30 |
62 |
28 |
14 |
19 |
0.24 |
14.97 |
10.04 |
2800 |
| UK207 |
190507 |
35 |
72 |
30 |
15 |
20 |
0.40 |
19.75 |
13.67 |
2400 |
| UK208 |
190508 |
40 |
80 |
31 |
15.5 |
21 |
0.53 |
22.71 |
15.94 |
2200 |
| UK209 |
190509 |
45 |
85 |
33 |
16.5 |
22 |
0.55 |
24.36 |
17.71 |
1900 |
| UK210 |
190510 |
50 |
90 |
35 |
17.5 |
24 |
0.62 |
26.98 |
19.84 |
1800 |
| UK211 |
190511 |
55 |
100 |
39 |
19.5 |
25 |
0.85 |
33.37 |
25.11 |
1600 |
| UK212 |
190512 |
60 |
110 |
41 |
20.5 |
27 |
1.13 |
36.74 |
27.97 |
1500 |
| UK213 |
190513 |
65 |
120 |
41.5 |
20.75 |
27 |
1.46 |
44.01 |
34.18 |
1400 |
| UK215 |
190515 |
75 |
130 |
44 |
22 |
30 |
1.53 |
50.85 |
41.26 |
1200 |
| UK216 |
190516 |
80 |
140 |
48 |
24 |
33 |
1.98 |
55.04 |
45.09 |
1100 |
| UK217 |
190517 |
85 |
150 |
50 |
25 |
36 |
2.51 |
64.01 |
53.28 |
1000 |
| UK218 |
190518 |
90 |
160 |
51 |
25.5 |
37 |
3.07 |
73.83 |
60.76 |
950 |
|