|
|
| LB10OP欧式开放型、LB12OP欧式开放型、LB13OP欧式开放型、LB16OP欧式开放型、LB20OP欧式开放型、LB25OP欧式开放型、LB30OP欧式开放型、LB35OP欧式开放型、LB40OP欧式开放型、LB50OP欧式开放型、LB60OP欧式开放型、LB80OP欧式开放型、LB100OP欧式开放型 |
|
 | 生产厂家: | 南京哈宁轴承制造有限公司 |
| |  | 公司地址: | 江苏省南京市莫愁路99号 |
| |  | 联系电话: | 025-86629730、52217447、86622491 |
| |  | 公司传真: | 025-52300551(电话:86622492、86622493) |
| |  | 联 系 人: | 刘长岭 13801591302 |
| |  | 联系邮件: | hrbn@vip.qq.com |
| |  | 产品价格: | ¥.00 |
| |  | 网上报价: | ¥.00 |
| |
|

|
开放型 |
球列数 |
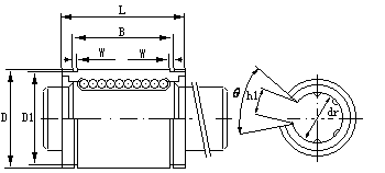
主 要 尺 寸(mm) |
径向间隙公差(μm) |
基本承载率 |
|
内圆直径及公差 |
外径及 公差 |
L |
B |
W |
D1 |
h1 |
θ |
偏心度(max) |
|
尺寸 |
精密级 |
高级 |
尺寸 |
公差 |
尺寸 |
公差 |
尺寸 |
公差 |
尺寸 |
精密级 |
高级 |
动荷载C(kgf) |
静荷载Co(kgf) |
|
LB10-OP |
3 |
10 |
|
|
19 |
|
29 |
|
22 |
|
1.3 |
18 |
|
|
8 |
12 |
-5 |
38 |
56 |
|
LB12-OP |
3 |
12 |
21 |
30 |
23 |
1.3 |
20 |
7.5 |
60 |
8 |
12 |
-5 |
42 |
61 |
|
LB13-OP |
3 |
13 |
23 |
32 |
23 |
1.3 |
22 |
9 |
60 |
8 |
12 |
-7 |
52 |
79 |
|
LB16-OP |
4 |
16 |
28 |
37 |
26.5 |
1.6 |
27 |
11 |
60 |
8 |
12 |
-7 |
79 |
120 |
|
LB20-OP |
4 |
20 |
|
|
32 |
|
42 |
30.5 |
1.6 |
30.5 |
11 |
60 |
10 |
15 |
-9 |
88 |
140 |
|
LB25-OP |
5 |
25 |
40 |
59 |
|
41 |
|
1.85 |
38 |
12.5 |
60 |
10 |
15 |
-9 |
100 |
160 |
|
LB30-OP |
5 |
30 |
45 |
64 |
44.5 |
1.85 |
43 |
15 |
60 |
10 |
15 |
-9 |
160 |
280 |
|
LB35-OP |
5 |
35 |
|
|
52 |
|
70 |
49.5 |
2.1 |
49 |
17 |
60 |
12 |
20 |
-13 |
170 |
320 |
|
LB40-OP |
5 |
40 |
60 |
80 |
60.5 |
2.1 |
57 |
20 |
60 |
12 |
20 |
-13 |
220 |
410 |
|
LB50-OP |
5 |
50 |
80 |
|
100 |
74 |
2.6 |
76.5 |
25 |
60 |
12 |
20 |
-13 |
390 |
810 |
|
LB60-OP |
5 |
60 |
|
|
90 |
110 |
85 |
3.15 |
86.5 |
30 |
60 |
17 |
25 |
-16 |
480 |
1020 |
|
LB80-OP |
5 |
80 |
120 |
140 |
|
105 |
|
4.5 |
116 |
40 |
50 |
17 |
25 |
-16 |
835 |
1310 |
|
LB100-OP |
5 |
100 |
|
|
150 |
|
175 |
125 |
5.0 |
145 |
50 |
50 |
20 |
30 |
-20 |
1260 |
2010 | |
|
|
|
|
|
|
|