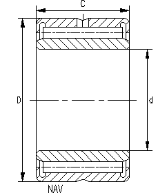
4074106轴承、4074107轴承、4074108轴承  
|
轴承 |
轴承型号 |
重量 |
外形尺寸 |
基本额定负荷 |
极限转速 |
|
Fw |
D |
C |
动 |
静 |
油润滑 |
|
内径 |
带内圈滚针轴承 |
近似 |
Cr |
Cor |
|
Dynamic |
Static |
Oil |
|
mm |
现行的 |
老型号 |
g |
mm |
N |
rpm |
|
21.87 |
RNAV4002 |
4084102 |
45 |
21.87 |
32 |
17 |
10800 |
29800 |
4500 |
|
24.3 |
RNAV4003 |
4084103 |
62 |
24.3 |
35 |
18 |
17900 |
37900 |
4300 |
|
28.7 |
RNAV4004 |
4084104 |
114 |
28.7 |
42 |
22 |
28150 |
60900 |
3900 |
|
33.5 |
RNAV4005 |
4084105 |
129 |
33.5 |
47 |
22 |
33800 |
70800 |
3700 |
|
40.1 |
RNAV4006 |
4084106 |
193 |
40.1 |
55 |
25 |
49900 |
96500 |
3500 |
|
45.9 |
RNAV4007 |
4084107 |
259 |
45.9 |
62 |
27 |
47600 |
122800 |
3100 |
|
51.6 |
RNAV4008 |
4084108 |
304 |
51.6 |
68 |
28 |
49900 |
137900 |
2700 |
|
57.4 |
RNAV4009 |
4084109 |
390 |
57.4 |
75 |
30 |
52500 |
153500 |
2600 |
|
62.1 |
RNAV4010 |
4084110 |
426 |
62.1 |
80 |
30 |
55700 |
166000 |
2500 |
|
69.8 |
RNAV4011 |
4084111 |
645 |
69.8 |
90 |
35 |
68500 |
225800 |
2300 |
|
74.6 |
RNAV4012 |
4084112 |
677 |
74.6 |
95 |
35 |
75400 |
239000 |
2100 |
|
80.3 |
RNAV4013 |
4084113 |
692 |
80.3 |
100 |
35 |
79500 |
256900 |
1900 |
|
88 |
RNAV4014 |
4084114 |
950 |
88 |
110 |
40 |
98800 |
354900 |
1700 |
|
92.7 |
RNAV4015 |
4084115 |
1000 |
92.7 |
115 |
45 |
101800 |
372900 |
1600 |
|
100.3 |
RNAV4016 |
4084116 |
1400 |
100.3 |
125 |
45 |
102900 |
373500 |
1500 |
|
104.8 |
RNAV4017 |
4084117 |
1540 |
104.8 |
130 |
45 |
103800 |
374800 |
1400 |
|
44 |
RNAV4206X2 |
74706 |
|
44 |
62 |
30 |
8800 |
11800 |
4300 |
|
44 |
RNAV4206X2/YA |
74706K |
|
44 |
62 |
30 |
8800 |
11800 |
7300 |
|
轴承 |
轴承型号 |
重量 |
外形尺寸 |
基本额定负荷 |
极限转速 |
|
Fw |
D |
C |
动 |
静 |
油润滑 |
|
内径 |
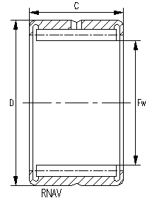
无内圈滚针轴承 |
近似 |
Cr |
Cor |
|
Dynamic |
Static |
Oil |
|
mm |
现行的 |
老型号 |
g |
mm |
N |
rpm |
|
30 |
NAV4006 |
4074106 |
299 |
30 |
55 |
25 |
49900 |
96500 |
3500 |
|
35 |
NAV4007 |
4074107 |
402 |
35 |
62 |
27 |
47600 |
122800 |
3100 |
|
40 |
NAV4008 |
4074108 |
482 |
40 |
68 |
28 |
49900 |
137900 |
2700 |
|
45 |
NAV4009 |
4074109 |
617 |
45 |
75 |
30 |
52500 |
153500 |
2600 |
|
50 |
NAV4010 |
4074110 |
669 |
50 |
80 |
30 |
55700 |
166000 |
2500 |
|
55 |
NAV4011 |
4074111 |
1030 |
55 |
90 |
35 |
68500 |
225800 |
2300 |
|
60 |
NAV4012 |
4074112 |
1087 |
60 |
95 |
35 |
75400 |
239000 |
2100 |
|
65 |
NAV4013 |
4074113 |
1156 |
65 |
100 |
35 |
79500 |
256900 |
1900 |
|
70 |
NAV4014 |
4074114 |
1666 |
70 |
110 |
40 |
98800 |
354900 |
1700 |
|
75 |
NAV4015 |
4074115 |
1762 |
75 |
115 |
45 |
101800 |
372900 |
1600 |
|
80 |
NAV4016 |
4074116 |
2450 |
80 |
125 |
45 |
102900 |
373500 |
1500 |
|
85 |
NAV4017 |
4074117 |
2500 |
85 |
130 |
45 |
103800 |
374800 |
1400 |
|
17 |
AV4203X2 |
74703 |
126 |
17 |
35 |
24.5 |
8700 |
10800 |
4200 |
|
30 |
AV4206X2 |
74706 |
|
30 |
62 |
30 |
8800 |
11800 |
4300 |
|
30 |
NAV4206X2/YA |
74706K |
|
30 |
62 |
30 |
8800 |
11800 |
7300 |
|
15 |
|
74802 |
100 |
15 |
36 |
24.5 |
8900 |
11200 |
4400 |
|