6207S-2RS外球面轴承、6208S-2RS外球面轴承、6209S-2RS外球面轴承、6306S-2RS外球面轴承
|

|
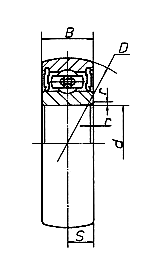
说明:
1、除外径为球面外,其余基本尺寸和结构与普通深沟球轴承相同。
2、内径为“--”公差与轴过盈配合。
|
| |
| 轴承代号 |
外形尺寸 (mm) |
重量(Kg) |
额定 动负荷Cr(KN) |
额定 静负荷Cor(KN) |
极限转速(r/min) |
| 新代号 |
旧代号 |
d |
D |
B |
S |
rmin |
| 6203S-2RS |
580203 |
17 |
40 |
12 |
6 |
1.0 |
0.08 |
7.36 |
4.48 |
4500 |
| 6204S-2RS |
580204 |
20 |
47 |
14 |
7 |
1.0 |
0.11 |
9.88 |
6.20 |
4000 |
| 6205S-2RS |
580205 |
25 |
52 |
15 |
7.5 |
1.0 |
0.13 |
10.78 |
6.98 |
3400 |
| 6206S-2RS |
580206 |
30 |
62 |
16 |
8 |
1.0 |
0.19 |
14.97 |
10.04 |
2800 |
| 6207S-2RS |
580207 |
35 |
72 |
17 |
8.5 |
1.1 |
0.27 |
19.75 |
13.67 |
2400 |
| 6208S-2RS |
580208 |
40 |
80 |
18 |
9 |
1.1 |
0.36 |
22.71 |
15.94 |
2200 |
| 6209S-2RS |
580209 |
45 |
85 |
19 |
9.5 |
1.1 |
0.42 |
24.36 |
17.71 |
1900 |
| 6306S-2RS |
580306 |
30 |
72 |
19 |
9.5 |
1.1 |
0.33 |
20.77 |
14.17 |
2600 |
|