南京轴承厂 南京轴承有限公司 南京哈宁轴承制造有限公司 南京工艺装备制造有限公司
设为首页 加入收藏夹 联系我们
电话:025-52217447、86629730 QQ:349831866
图文传真:025-52300551 联系人:刘长岭 13801591302
首页 | 产品大全 | 贸易知识 | 技术知识 | 轴承知识 | 行业新闻 | 国内新闻 | 哈宁新闻 | 样本下载 | 轴承样本 | 现货信息 | 供应信息 | 价格信息 | 营业执照 | 企业商标 | 汇款资料 | 产品介绍 | 联系我们 | 价格表 | 微薄 |
搜索:

销售电话:138 0159 1302

您现在的位置是:首页 --->轴承知识
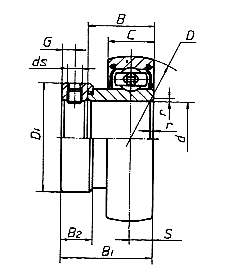
SA210外球面轴承、SA211外球面轴承、SA212外球面轴承
说明:

     1.此代号符合日本NBR公司的代号方法,外形尺寸与国标《GB/T3882》一致。

     2.适用于有轴肩和安装位置受限制的部位,美、英、法、德等国多采用此结构形式。

     3、多与钢板冲击压轴承座配合使用。

 

 
轴承代号 外形尺寸 (mm) 重量(Kg)  额定  动负荷Cr(KN)  额定  静负荷Cor(KN)  极限  转速(r/min) 配用轴承代号
d D B B1 C S D1 B2 G rmin ds 新代号 旧代号
SA201 12 40 19.0 28.6 13 6.5 28.6 13.5 4.8 0.6 M6×1 0.14 7.36 4.48 4500 E201 P501
SA202 15 40 19.0 28.6 13 6.5 28.6 13.5 4.8 0.6 M6×1 0.13 7.36 4.48 4500 E202 P502
SA203 17 40 19.0 28.6 13 6.5 28.6 13.5 4.8 0.6 M6×1 0.12 7.36 4.48 4500 E203 P503
SA204 20 47 21.5 31.0 14 7.5 33.3 13.5 4.8 1.0 M6×1 0.14 9.88 6.20 4000 E204 P504
SA205 25 52 21.5 31.0 15 7.5 38.1 13.5 4.8 1.0 M6×1 0.18 10.78 6.98 3400 E205 P505
SA206 30 62 23.8 35.7 16 9.0 44.5 15.9 6.0 1.0 M6×1 0.31 14.97 10.04 2800 E206 P506
SA207 35 72 25.4 38.9 17 9.5 55.6 17.5 6.8 1.1 M8×1 0.51 19.75 13.67 2400 E207 P507
SA208 40 80 30.2 43.7 18 11.0 60.3 18.3 6.8 1.1 M8×1 0.64 22.71 15.94 2200 E208 P508
SA209 45 85 30.2 43.7 19 11.0 63.5 18.3 6.8 1.1 M8×1 0.68 24.36 17.71 1900 E209 P509
SA210 50 90 30.2 43.7 20 11.0 69.9 18.3 7.0 1.1 M10×1 0.77 26.98 19.84 1800 E210 P510
SA211 55 100 32.5 48.4 24 12.0 76.2 20.7 7.0 1.5 M10×1 0.83 33.37 25.11 1600 E211 P511
SA212 60 110 37.2 53.1 24 13.5 84.2 22.3 8.0 1.5 M10×1 1.40 36.74 27.97 1500 E212 P512
关于我们 - 设为首页 - 加入收藏 - 营业执照 - 企业商标 - 汇款资料 - 产品介绍 - 联系我们 - 友情连接 - 企业库 - VIP会员
单位汇款资料:南京哈宁轴承制造有限公司 开户行及帐号:工行朝天宫分理处4301021409100005958
个人汇款资料:中国农业银行南京白下分行 6228460390011617510 刘长岭 苏ICP备16004265号-1