南京轴承厂 南京轴承有限公司 南京哈宁轴承制造有限公司 南京工艺装备制造有限公司
设为首页 加入收藏夹 联系我们
电话:025-52217447、86629730 QQ:349831866
图文传真:025-52300551 联系人:刘长岭 13801591302
首页 | 产品大全 | 贸易知识 | 技术知识 | 轴承知识 | 行业新闻 | 国内新闻 | 哈宁新闻 | 样本下载 | 轴承样本 | 现货信息 | 供应信息 | 价格信息 | 营业执照 | 企业商标 | 汇款资料 | 产品介绍 | 联系我们 | 价格表 | 微薄 |
搜索:

销售电话:138 0159 1302

您现在的位置是:首页 --->轴承知识
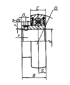
SB205外球面轴承、SB206外球面轴承、SB207外球面轴承、SB208外球面轴承
说明:

     1.此代号符合日本NBR公司的代号方法,外形尺寸与国标《GB/T3882》一致。

     2.适用于有轴肩和安装位置受限制的部位,美、英、法、德等国多采用此结构形式。

     3、多与钢板冲击压轴承座配合使用。

 

 
轴承代号 外形尺寸 (mm) 重量(Kg)  额定  动负荷Cr(KN)  额定  静负荷Cor(KN)   极限   转速(r/min)
d D B S C G rmin d3
SB201 12 40 22 6.0 12 4.5 0.6 M5×0.5 0.10 7.36 4.48 4500
SB202 15 40 22 6.0 12 4.5 0.6 M5×0.5 0.09 7.36 4.48 4500
SB203 17 40 22 6.0 12 4.5 0.6 M5×0.5 0.07 7.36 4.48 4500
SB204 20 47 25 7.0 14 4.5 1.0 M6×1 0.12 9.88 6.20 4000
SB205 25 52 27 7.5 15 5.0 1.0 M6×1 0.16 10.78 6.98 3400
SB206 30 62 30 8.0 16 5.0 1.0 M6×1 0.25 14.97 10.04 2800
SB207 35 72 32 8.5 17 6.0 1.1 M6×1 0.38 19.75 13.67 2400
SB208 40 80 34 9.0 18 8.0 1.1 M8×1 0.58 22.71 15.94 2200
关于我们 - 设为首页 - 加入收藏 - 营业执照 - 企业商标 - 汇款资料 - 产品介绍 - 联系我们 - 友情连接 - 企业库 - VIP会员
单位汇款资料:南京哈宁轴承制造有限公司 开户行及帐号:工行朝天宫分理处4301021409100005958
个人汇款资料:中国农业银行南京白下分行 6228460390011617510 刘长岭 苏ICP备16004265号-1