190610外球面轴承、190611外球面轴承、190612外球面轴承、190613外球面轴承
 |
说明:
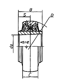
此型轴承一般与紧定套配合使用,适用于有振动、冲击负荷的机械。 |
| |
| 轴承代号 |
外形尺寸 (mm) |
重量(Kg) |
额定 动负荷Cr(KN) |
额定 静负荷Cor(KN) |
极限转速 (r/min) |
| 新代号 |
旧代号 |
dz |
D |
B |
S |
C |
| UK305 |
190605 |
25 |
62 |
27 |
13.5 |
21 |
0.27 |
17.22 |
11.39 |
2800 |
| UK306 |
190606 |
30 |
72 |
30 |
15 |
23 |
0.47 |
20.77 |
14.17 |
2600 |
| UK307 |
190607 |
35 |
80 |
34 |
17 |
25 |
0.58 |
25.66 |
17.92 |
2200 |
| UK308 |
190608 |
40 |
90 |
36 |
18 |
27 |
0.81 |
31.35 |
22.38 |
2000 |
| UK309 |
190609 |
45 |
100 |
39 |
19.5 |
30 |
1.10 |
40.66 |
30.00 |
1800 |
| UK310 |
190610 |
50 |
110 |
42 |
21 |
32 |
1.33 |
47.58 |
35.71 |
1700 |
| UK311 |
190611 |
55 |
120 |
44 |
22 |
34 |
1.65 |
55.05 |
41.91 |
1400 |
| UK312 |
190612 |
60 |
130 |
48 |
24 |
36 |
2.07 |
62.88 |
48.60 |
1300 |
| UK313 |
190613 |
65 |
140 |
49 |
24.5 |
38 |
2.54 |
72.21 |
56.68 |
1200 |
| UK315 |
190615 |
75 |
160 |
56 |
28 |
42 |
3.81 |
87.25 |
71.67 |
1000 |
| UK316 |
190616 |
80 |
170 |
58 |
29 |
44 |
4.50 |
94.57 |
80.35 |
1000 |
| UK317 |
190617 |
85 |
180 |
61 |
30.5 |
46 |
5.30 |
102.05 |
89.52 |
950 |
| UK318 |
190618 |
90 |
190 |
66 |
33 |
48 |
6.20 |
110.81 |
100.76 |
900 |
| UK319 |
190619 |
95 |
200 |
67 |
33.5 |
50 |
7.16 |
120.51 |
113.75 |
850 |
| UK320 |
190620 |
100 |
215 |
74 |
37 |
54 |
8.97 |
133.06 |
131.18 |
800 |
| UK322 |
190622 |
110 |
240 |
82 |
41 |
60 |
12.19 |
157.66 |
167.64 |
700 |
| UK324 |
190624 |
120 |
260 |
86 |
43 |
64 |
14.91 |
175.07 |
194.42 |
630 |
| UK326 |
190626 |
130 |
280 |
90 |
45 |
68 |
18.85 |
194.93 |
226.71 |
560 |
| UK328 |
190628 |
140 |
300 |
95 |
47.5 |
73 |
23.45 |
211.38 |
253.93 |
500 |
|